Projet ampli cathode bias (double PP EL84/PP 6L6)

Pour la conception et la réalisation de vos amplis.
dilet
G5 optimiseur
G5 optimiseur
Messages : 330
Enregistré le : 31 janv. 2023, 0:06
Localisation : Lyon

Re: Projet ampli cathode bias (double PP EL84/PP 6L6)

Message non lu par dilet »

Je me suis mal exprimé (voulant faire court) et l'ajout ultérieur (et mal placé) dans mon message n'arrangeait pas les choses ! :tsor:

Concernant le repiquage de la réverbe en sortie de V1b, j'avais bien compris ton explication et mon erreur.
Avec un peu plus de réflexion, j'aurais dû me rendre compte que le repiquage en sortie de V1a n'était pas possible si on utilise le canal drive. Comme tu l'indiquais, le mélange drive et clean réverbéré doit effectivement être assez curieux...

Ma réponse concernait le nombre de triodes dans le canal drive, pour lequel je ne m'étais pas posé la question du déphasage en sortie puisque, sur ton schéma, on ne peut pas avoir le clean et le drive en service en même temps.
L'argument de garder les deux canaux en phase m'a d'abord semblé imparable, puis (après avoir posté) j'ai réalisé que, comme le signal pour la réverbe est pris après le deuxième commutateur, le fait que le signal soit en phase en sortie des canaux clean et drive n'a pas vraiment d'importance (d'où le correctif). :mrgreen:
Ce n'est bien sûr plus le cas dans l'hypothèse où les deux canaux seraient actifs simultanément, comme tu le mentionnes; il serait alors impératif que les sorties soient en phase.

Comme je le disais, mes avis sur les schémas ne sont pas encore très pertinents... surtout à des heures aussi tardives. :oops:
dilet
Avatar du membre
Zazman
G5 optimiseur
G5 optimiseur
Messages : 413
Enregistré le : 31 août 2006, 2:00
Contact :

Re: Projet ampli cathode bias (double PP EL84/PP 6L6)

Message non lu par Zazman »

Je t'avoue que la cohérence de phase m'avait échappée moi aussi, l'autre avantage du montage étant une bonne réserve de puissance avec le canal drive, ce qui a son importance lorsqu'on joue avec un batteur un peu énervé ;)
essaye peut-être de réduire la valeur de la résistance de la LED du VTL de 470K à 330K, 220K ou 150K (le VTL supporte 40mA dans la LED, on est loin du maximum): la résistance en sortie va diminuer et l'effet devrait être plus marqué.
Effectivement, j'ai résolu le problème de profondeur du trémolo en remplaçant la résistance de l'opto de 470k par 220k, je gagne déjà bien en profondeur. Je tenterais bien 150k mais la led de l'opto va tenir le coup ? et est-ce qu'une R 150k est compatible avec le LND lorsque la led de l'opto est bypassée ? (switch fermé = effet off)

Pour la course utile du depth, j'ai mesuré la résistance de la plage utile du pot 1M, en gros 100k et j'ai résolu le problème en remplaçant le pot 1M par un pot 100k avec une résistance 1M vers la masse, je conserve ainsi mon référencement masse ~1M et toute la course du pot 100k est maintenant utilisable.

Ci-joint le schéma à jour en version 6.5 :
JF Deluxe reverb_v6.5.pdf
(92.32 Kio) Téléchargé 172 fois

Je vais bientôt passer à l'étape "mise en boite", mais il me reste quelques peaufinages sur le son, par exemple valeur de capa du switch de bright à comparer (47pf / 100pf), à tester à faible volume/fort volume. Test d'un switch bright sur le canal drive. Remplacement des capa aigu des TS par des styroflex ou autres que les silver mica et peut-être changer la capa de medium du TS drive actuelle de 15nf -> 12nf ou 10nf à tester pour obtenir un réglage de la plage médiums un peu plus haute en fréquences, ça sonnerait plus moderne.
dilet
G5 optimiseur
G5 optimiseur
Messages : 330
Enregistré le : 31 janv. 2023, 0:06
Localisation : Lyon

Re: Projet ampli cathode bias (double PP EL84/PP 6L6)

Message non lu par dilet »

Zazman a écrit :Effectivement, j'ai résolu le problème de profondeur du trémolo en remplaçant la résistance de l'opto de 470k par 220k, je gagne déjà bien en profondeur. Je tenterais bien 150k mais la led de l'opto va tenir le coup ? et est-ce qu'une R 150k est compatible avec le LND lorsque la led de l'opto est bypassée ? (switch fermé = effet off)
Pas de problème pour 150K (ou même 100K ?), le courant dans le LND150 et la LED du VTL ne dépassera pas: B+ / ( R + 22K) (très grossièrement), soit 1,7 (et 2,4mA pour 100K) contre 1,2mA pour 220K. La résistance du VTL passera environ de 30K à 15K (et 10K pour R=100K).
La LED du VTL peut supporter jusqu'à 40mA et le LND150 est caractérisé avec un courant drain de 5mA pour un Vgs de 1V (et 30mA maximum), il reste de la marge...
La tension aux bornes de la LED du VTL est de l'ordre de 1 à 2V selon le courant, la fermeture du switch change à peine le courant qui traverse le LND.
Donc, si la profondeur du trémolo te semble déjà correcte à 220K, le passage à 150K devrait donner une amélioration notable; pas certain que descendre à 100K soit très intéressant.

Sinon, dans l'état actuel du schéma, tu as retrouvé un son correct (tu évoquais à un moment une perte de brillance et de clarté) ?
dilet
Avatar du membre
Zazman
G5 optimiseur
G5 optimiseur
Messages : 413
Enregistré le : 31 août 2006, 2:00
Contact :

Re: Projet ampli cathode bias (double PP EL84/PP 6L6)

Message non lu par Zazman »

J'ai mis une résistance de 150k, je gagne en profondeur et donc la plage utile du depth est plus importante, c'est nickel, merci !
Sinon, dans l'état actuel du schéma, tu as retrouvé un son correct (tu évoquais à un moment une perte de brillance et de clarté) ?
Oui, parce que le filtre de mixage reverb/trémolo est finalement une résistance de 220k en parallèle avec une capa de 10pf, donc ce montage permet de ne presque pas perdre en clarté. Les solutions à l'origine de cette optimisation possible concernent la reverbe, avec le prélévement de l'entrée sur l'anode V1b, ce qui améliore le rendement et ton astuce R150k pour obtenir plus de rendement du trémolo. Au final, cela m'a permis de rééquilibrer le mixer dry/reverb/tremolo et de perdre moins de son direct.

Je passe à l'assemblage, merci encore pour tous tes conseils :)

Juste une question : Est-ce possible de placer une led (qui irait en façade pour indiquer que le trémolo est actif) en parallèle de la led de l'opto, et qui, sauf erreur de ma part clignoterait en fonction du réglage de la vitesse du LFO ?
Si ce montage est fonctionnel, cela changerait-il la valeur de la résistance établie à 150k ?
dilet
G5 optimiseur
G5 optimiseur
Messages : 330
Enregistré le : 31 janv. 2023, 0:06
Localisation : Lyon

Re: Projet ampli cathode bias (double PP EL84/PP 6L6)

Message non lu par dilet »

Zazman a écrit :Est-ce possible de placer une led (qui irait en façade pour indiquer que le trémolo est actif) en parallèle de la led de l'opto, et qui, sauf erreur de ma part clignoterait en fonction du réglage de la vitesse du LFO ?
En parallèle, ça ne me semble pas très judicieux: cela va augmenter le courant dans le LND (où l'on avait le moins de marge) et du coup obliger à modifier la valeur de R.
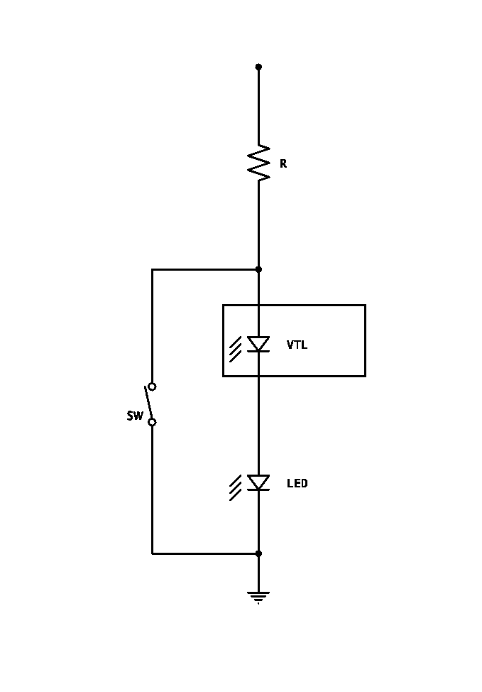
Comme le montage est alimenté en HT (environ 270V), on n'est pas à 1 ou 2V près (la chute de tension dans la LED)... Je monterais donc plutôt la LED en série avec celle du VTL comme sur le schéma ci-dessous:
LED Tremolo.png
Le courant dans le VTL et le LND est à peine modifié et l'effet sur la profondeur du trémolo devrait être imperceptible. Par contre, comme le courant dans la LED du VTL dépasse tout juste 1mA pour R=150K, il faudra choisir une LED haute luminosité, prévue pour être bien illuminée à 1 ou 2mA.
Par exemple: https://www.reichelt.com/fr/fr/led-5-mm ... ol_5&nbc=1
Elle devrait en effet clignoter au rythme du trémolo.
Au final, cela m'a permis de rééquilibrer le mixer dry/reverb/tremolo et de perdre moins de son direct.
Bon, finalement, pas autant de compromis que tu le craignais... :dance:
dilet
Avatar du membre
Zazman
G5 optimiseur
G5 optimiseur
Messages : 413
Enregistré le : 31 août 2006, 2:00
Contact :

Re: Projet ampli cathode bias (double PP EL84/PP 6L6)

Message non lu par Zazman »

Merci Dilet, Cool ! je mettrai une led en série, ça fera joli sur la façade. Dommage que cette led basse conso n'existe pas en bleu, enfin je n'ai pas trouvé sur le site que tu mentionnes, mais ce n'est pas très grâve en fait ;)
Bon, finalement, pas autant de compromis que tu le craignais...
oui, tant mieux ! comme quoi c'est important de prendre le temps d'améliorer les différents composants avant de finaliser le montage...

J'ai dessiné mon plan de perçage de la façade et j'en ai profité pour dessiner le panneau, je ferai de même pour le panneau arrière un peu plus tard. (Dessiné avec Open Office Draw à l'échelle 1/2). Vu l'angle de la façade (chassis fender) j'ai un test de passage des switchs inférieurs à faire, je percerai un trou à la bonne quote dans une partie cachée par le panneau avant pour m'assurer que les switchs passent bien et que les cosses ne touchent pas le chassis.

panneau avant.pdf
(109.7 Kio) Téléchargé 205 fois

Question à la communauté : hormis Tube Town, connaissez-vous un moyen de faire imprimer mes panneaux avant et arrière (51,5 cm x 4,5 cm) , je ne sais pas trop quelle technique utiliser, tant que cela n'est pas trop onéreux... plastique ? autocollant ? voire l'imprimer moi même sur 2 feuilles A4 et les recouvrir d'un film plastique autocollant... ok, c'est un peu bidouille :biggrin:
dilet
G5 optimiseur
G5 optimiseur
Messages : 330
Enregistré le : 31 janv. 2023, 0:06
Localisation : Lyon

Re: Projet ampli cathode bias (double PP EL84/PP 6L6)

Message non lu par dilet »

Zazman a écrit :Dommage que cette led basse conso n'existe pas en bleu...
La LED bleue utilise une technologie un peu différente: la chute de tension est plus importante (3 à 4V) et je ne sais pas si on en trouve en faible consommation...
Le modèle que je t'ai indiqué en rouge est assez directif (30°), il y en a avec des ouvertures plus importantes.
On trouve du vert en faible consommation mais la puissance lumineuse est généralement plus faible.
... voire l'imprimer moi même sur 2 feuilles A4 et les recouvrir d'un film plastique autocollant... ok, c'est un peu bidouille
Quand j'étais étudiant, je faisais mes faces avant d'appareils avec du papier et des lettres transfert Letraset que je recouvrais de plastique autocollant; presque 40 ans plus tard, ça n'a pas bougé, mais l'effet reste quand même "amateur" et c'était surtout des appareils de mesure, donc peu exposés.
Pour une face avant d'ampli guitare que tu vas transporter, ça risque d'être un peu fragile par rapport aux griffures (encore qu'avec tout ce qu'il y a sur ta face avant, la surface ne sera guère accessible... :wink:).
Ça reste une bonne solution provisoire le temps de terminer la "mise en boite" et de faire les derniers essais, mais si ton ampli fonctionne bien et comme tu vas l'utiliser en public, ce serait dommage de ne pas lui donner la finition plus "pro" qu'il mérite. :think:
On avait un peu discuté des faces TubeTown pour le G5 20th ici: viewtopic.php?p=104553#p104553.
dilet
Avatar du membre
Zazman
G5 optimiseur
G5 optimiseur
Messages : 413
Enregistré le : 31 août 2006, 2:00
Contact :

Re: Projet ampli cathode bias (double PP EL84/PP 6L6)

Message non lu par Zazman »

Quand j'étais étudiant, je faisais mes faces avant d'appareils avec du papier et des lettres transfert Letraset que je recouvrais de plastique autocollant
Même chose pour moi, certainement à la même époque ;)
oui, je vais étudier tout ça, de toute façon, je pense donner à l'ampli une période de "rodage" en terme d'utilisation car peut-être que certaines choses me paraitront moins utiles sur la face arrière. Je ne vais donc pas faire faire les faces pour le moment, l'essentiel est de prendre les cottes des trous.

La face arrière est terminée, j'ai tout rassemblé dans le même fichier :
panneaux.pdf
(129.33 Kio) Téléchargé 218 fois
dilet
G5 optimiseur
G5 optimiseur
Messages : 330
Enregistré le : 31 janv. 2023, 0:06
Localisation : Lyon

Re: Projet ampli cathode bias (double PP EL84/PP 6L6)

Message non lu par dilet »

Je reviens sur la LED rouge basse consommation haute luminosité: le modèle que je t'ai indiqué a une luminosité de 100mcd, c'est violent !
Comme je fais beaucoup de "numérique", les signaux à visualiser ont souvent de faibles rapports cycliques et la forte luminosité permet de compenser cela et de voir la LED s'allumer.
Je réalise que le trémolo, lui, a un rapport cyclique de 50% et une fréquence très basse; cela risque donc d'être trop lumineux par rapport à tes autres voyants et même dans l'absolu... :think:
Chez le même fournisseur, il y a des modèles moins lumineux (5 ou 20 mcd) et avec un angle plus large (60°), peut-être plus adaptés à un usage "voyant".
Je chercherai les caractéristiques (luminosité et courant) des dernières que j'ai achetées, mais alimentées en continu au courant nominal, on pouvait à peine les regarder en face ! Très bien pour visualiser des impulsions, beaucoup trop puissant pour un voyant...
Et comme, dans le montage envisagé, on ne maitrise pas le courant (c'est celui du VTL), il faut choisir la luminosité adaptée (ou partir sur un montage plus compliqué).
dilet
Avatar du membre
Zazman
G5 optimiseur
G5 optimiseur
Messages : 413
Enregistré le : 31 août 2006, 2:00
Contact :

Re: Projet ampli cathode bias (double PP EL84/PP 6L6)

Message non lu par Zazman »

Effectivement, à voir, je pense que je commanderai plusieurs leds avec différentes luminosités (100 mcd, 20 mcd, 5 mcd) et je commencerai en montant la 20 mcd, quitte à rectifier ensuite.
dilet
G5 optimiseur
G5 optimiseur
Messages : 330
Enregistré le : 31 janv. 2023, 0:06
Localisation : Lyon

Re: Projet ampli cathode bias (double PP EL84/PP 6L6)

Message non lu par dilet »

J'ai retrouvé les caractéristiques des LEDs dont je parlais: des Wurth rouges 3mm 2,6cd 20mA 30°.
A 2,5mA, la luminosité est encore de 1cd; j'avais dû les tester à 1 ou 2mA...
J'ai d'ailleurs retrouvé un avertissement concernant le danger potentiel pour la rétine des LEDs de plus de 1cd... :(
Donc, oui, commencer vers 20mcd me semble bien pour un usage comme voyant: ce sera probablement déjà très lumineux.
Par contre, pour les couleurs autres que le rouge, en 20mcd, ce seront des modèles à consommation de 20mA. La faible consommation n'est de toute façon indispensable que pour le trémolo.
Une luminosité plus "classique" vers 3 à 5mcd sera peut-être suffisante... là, il y a beaucoup plus de choix.

Bon assemblage !
dilet
Avatar du membre
Zazman
G5 optimiseur
G5 optimiseur
Messages : 413
Enregistré le : 31 août 2006, 2:00
Contact :

Re: Projet ampli cathode bias (double PP EL84/PP 6L6)

Message non lu par Zazman »

Merci pour tes infos, j'ai fait le perçage hier, y'a pas un espace énorme en façade pour tous les composants mais ça va le faire :)

IMG_2056.JPG
IMG_2057.JPG

Bon, j'ai un souci, je me demande s'il vaut mieux monter mes prises RCA chassis (départ et retour reverb) en les isolant du chassis donc avec les rondelles isolantes plastiques, ou sans, mais comme l'option avec m'oblige à percer plus grand, je préfère demander conseil avant pour éviter une boucle de masse.

IMG_2058.JPG
dilet
G5 optimiseur
G5 optimiseur
Messages : 330
Enregistré le : 31 janv. 2023, 0:06
Localisation : Lyon

Re: Projet ampli cathode bias (double PP EL84/PP 6L6)

Message non lu par dilet »

Zazman a écrit :... je me demande s'il vaut mieux monter mes prises RCA chassis (départ et retour reverb) en les isolant du chassis donc avec les rondelles isolantes plastiques, ou sans ...
Je pense qu'il faut isoler les RCA châssis, sinon il va y avoir des boucles de masse par le châssis que tu as déjà dû relier à la masse au niveau du point de masse "étoile".
Il me semble qu'il y a également des subtilités, selon le câblage de la masse sur les entrées/sorties et de la masse entre le tank et le châssis, pour éviter une boucle de masse par le tank... :think:
Certaines références de tank ont une ou deux RCA isolée(s) du boitier (indiqué par la 5° lettre de la référence).
dilet
Avatar du membre
bilbo_moria
Don Bilbo de la Vega
Messages : 7488
Enregistré le : 15 déc. 2004, 1:00
Localisation : Tinteniac (35)

Re: Projet ampli cathode bias (double PP EL84/PP 6L6)

Message non lu par bilbo_moria »

Zazman a écrit : 04 mai 2024, 8:56 Bon, j'ai un souci, je me demande s'il vaut mieux monter mes prises RCA chassis (départ et retour reverb) en les isolant du chassis donc avec les rondelles isolantes plastiques, ou sans, mais comme l'option avec m'oblige à percer plus grand, je préfère demander conseil avant pour éviter une boucle de masse.
Perso, je le fais systématiquement afin d'éviter les boucles de masse. Mais chez Fender, par exemple, ils s'en battent les ... et il n'y a pas de bruit particulier.
On va dire que le bruit lié à une boucle de masse n'est certainement pas systématique, mais c'est un risque ... (et on est bien avancé :wink: )
Avatar du membre
Zazman
G5 optimiseur
G5 optimiseur
Messages : 413
Enregistré le : 31 août 2006, 2:00
Contact :

Re: Projet ampli cathode bias (double PP EL84/PP 6L6)

Message non lu par Zazman »

C'est fait, merci Dilet et Bilbo :)
Il me semble qu'il y a également des subtilités, selon le câblage de la masse sur les entrées/sorties et de la masse entre le tank et le châssis, pour éviter une boucle de masse par le tank... :think:
Certaines références de tank ont une ou deux RCA isolée(s) du boitier (indiqué par la 5° lettre de la référence).
dilet
Haut
Tout à fait, normalement sur le mien, les deux RCA doivent être reliées à la masse, c'est un 4AB3C1B.
On va dire que le bruit lié à une boucle de masse n'est certainement pas systématique, mais c'est un risque ... (et on est bien avancé :wink: )
Oui, c'est clair et mieux vaut prévenir que guérir, c'est une galère quand il faut en trouver la cause.

Le montage continue, ça avance :)

IMG_0005.jpg
IMG_0006.jpg
IMG_0007.jpg
Répondre